L'atelier Les roms implanté dans le bank 0000h à 3FFFh
Hello
Je me suis penché sur ces type de ROM qui sont implanté dans le bank 0000h
Apres avoir longuement conversé avec jipé (s'etait en 2023), je vais essayer de retranscrire la methode pour pouvoir executer ces type de jeux
pour le moment je me suis penché sur une rom de 16k implanté dans le bank 0000h
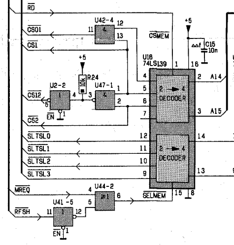
voici les signaux de decodage d'adresse sur le connecteur du slot
/CS1 pin 1 pour les cartouches 16k de 4000h à 7FFFh
/CS2 pin 2 pour les cartouches 16k de 8000h à BFFFh
/CS12 pin 3 pour les cartouches 32k de 4000h à BFFFh
Il faudrait creer un /CS0 pour les cartouches 16k de 0000h à 3FFFh
Jipé, j'aurais besoin de ton aide pour construire le signal /CS0.
j'ai repéré le shemas provenant du 8020 page 15 du pdf, et j'ai bien repéré un LS139 utilisé 2 fois (donc la moitié me suffit , ça j'ai compris)

Pin1 > /RD
Pin2 > A14
Pin3 > A15
Pin4 > /CS0
Pin8 > GND
Pin16 > +5V
Il me semble que tu avais testé une autre methode. Car il n y a pas /RD sur tous les PCB, par contre c'est courant un PCB avec /SLTSL
J'aurais besoin de tes lumiere dans la facon de cabler tout ça mais le plus simple possible stp
Je pourrais eventuellement creer un PCB special (j'en sais rien encore) vu qu'apparement c'est que pour les jeux activision (certains jeux ?) Edité par MSXlegend Le 29/10/2025 à 20h59
Je me suis penché sur ces type de ROM qui sont implanté dans le bank 0000h
Apres avoir longuement conversé avec jipé (s'etait en 2023), je vais essayer de retranscrire la methode pour pouvoir executer ces type de jeux
pour le moment je me suis penché sur une rom de 16k implanté dans le bank 0000h
voici les signaux de decodage d'adresse sur le connecteur du slot
/CS1 pin 1 pour les cartouches 16k de 4000h à 7FFFh
/CS2 pin 2 pour les cartouches 16k de 8000h à BFFFh
/CS12 pin 3 pour les cartouches 32k de 4000h à BFFFh
Il faudrait creer un /CS0 pour les cartouches 16k de 0000h à 3FFFh
Jipé, j'aurais besoin de ton aide pour construire le signal /CS0.
j'ai repéré le shemas provenant du 8020 page 15 du pdf, et j'ai bien repéré un LS139 utilisé 2 fois (donc la moitié me suffit , ça j'ai compris)

Pin1 > /RD
Pin2 > A14
Pin3 > A15
Pin4 > /CS0
Pin8 > GND
Pin16 > +5V
Il me semble que tu avais testé une autre methode. Car il n y a pas /RD sur tous les PCB, par contre c'est courant un PCB avec /SLTSL
J'aurais besoin de tes lumiere dans la facon de cabler tout ça mais le plus simple possible stp

Je pourrais eventuellement creer un PCB special (j'en sais rien encore) vu qu'apparement c'est que pour les jeux activision (certains jeux ?) Edité par MSXlegend Le 29/10/2025 à 20h59
Mon Github ->[/b] github.com/msxlegend
challenge 2013 -> neodream MSX 2013
Concepteur du -> KCX Bluetooth transmitter
Demo Terminator2 T2.zip
Répondre
Vous n'êtes pas autorisé à écrire dans cette catégorie
